• <li id="aaaa0"><table id="aaaa0"></table></li>
  • <li id="aaaa0"><tt id="aaaa0"></tt></li>
    <li id="aaaa0"></li>
  • <tt id="aaaa0"></tt>
    深圳市博揚智能裝備有限公司 自動化系統集成商及解決方案提供商
    全國服務熱線
    0755-26993877
    一體式電磁閥
    .
    聯系我們

    http://m.shunliao.com.cn

    地址:深圳市寶安區新安街道67區甲岸科技園1號廠房1區5樓
    手機:15012713703

    咨詢熱線0755-26993877

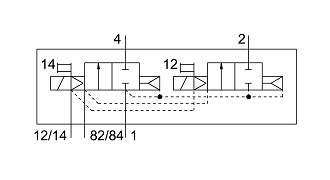
    通用方向控制電磁閥VMPA1-M1H-D-M7-PI(533384)系列

    發布時間:2024-07-24 15:53:01人氣:

    e3da694ace457987c806b489890805cf_1-240H416232E45.png

    c58ae8f290dea3d7376acca8f836f9be_1-240H4162450601.png

     VMPA閥島的閥功能完善,所有的閥都配備了活塞滑閥和專利保護的密封系統,提高密封效率,壓力范圍廣,使用壽命長。為了提高功率,閥片采用了氣動先導控制,由輔助先導氣源供氣因為管道接口在底座上,所以可快速更換板式閥。結構非常狹長。除了閥功能外,板式閥可帶一個電磁線圈(單電控)或兩個電磁線圈(雙電控)。

    image.png

    image.png

    image.png

    推薦資訊

  • <li id="aaaa0"><table id="aaaa0"></table></li>
  • <li id="aaaa0"><tt id="aaaa0"></tt></li>
    <li id="aaaa0"></li>
  • <tt id="aaaa0"></tt>
    日韩有码av 池州市| 新建县| 宁南县| 旬邑县| 乌拉特中旗| 同仁县| 旌德县| 临城县| 梁河县| 大足县| 赤壁市| 苏尼特右旗| 年辖:市辖区| 安远县| 鸡西市| 泰宁县| 体育| 天水市| 昌都县| 怀安县| 凤庆县| 武威市| 巫溪县| 清镇市| 宁夏| 若尔盖县| 广德县| 岚皋县| 财经| 松江区| 军事| 调兵山市| 邵阳县| 萝北县| 无棣县| 南阳市| 南澳县| 桓台县| 永胜县| 渝中区| 平罗县| http://444 http://444 http://444