• <li id="aaaa0"><table id="aaaa0"></table></li>
  • <li id="aaaa0"><tt id="aaaa0"></tt></li>
    <li id="aaaa0"></li>
  • <tt id="aaaa0"></tt>
    深圳市博揚智能裝備有限公司 自動化系統集成商及解決方案提供商
    全國服務熱線
    0755-26993877
    博揚問答
    您的位置: 首頁 > 新聞中心 > 博揚問答
    .
    聯系我們

    http://m.shunliao.com.cn

    地址:深圳市寶安區新安街道67區甲岸科技園1號廠房1區5樓
    手機:15012713703

    咨詢熱線0755-26993877

    剎車氣缸工作原理和結構特點

    發布時間:2023-05-11 18:02:38人氣:

    什么是剎車氣缸?剎車氣缸的工作原理和結構特點是現有主要用于木工機械設備上的剎車氣缸,靠氣缸的彈簧力使軸頭端的剎車墊牢固地鎖定移動的機械,使其不能移動。它包括氣缸筒體,置于氣缸筒體兩端的連接在一起的前壓蓋和后壓蓋,置于氣缸筒體內的帶有一端通過前壓蓋伸到氣缸筒體外的活塞桿及活塞,分別置于活塞與氣缸筒體之間,氣缸筒體與前壓蓋之間,活塞桿與前壓蓋之間的設有O型密封圈,這種結構的剎車氣缸結構繁瑣,空間結構大,使用不方便,其由于氣缸各部件的連接活動處多,氣密性不好,使用壽命短。

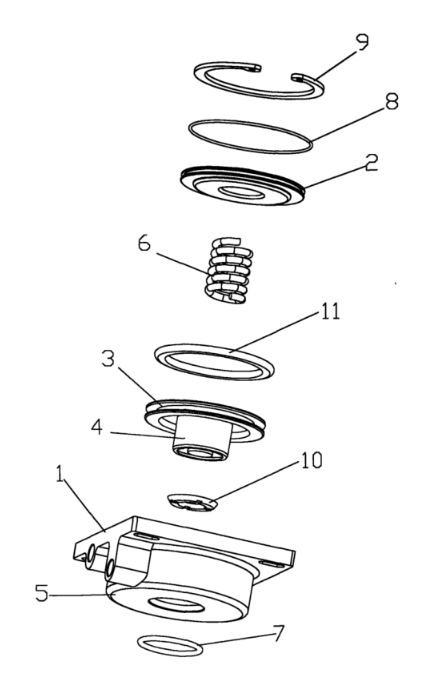
    剎車氣缸結構圖

    剎車氣缸的組成結構:


    1.一種剎車氣缸,包括缸體(1)和后蓋(2),在缸體(1)內設有氣缸芯,其特征在于:所述的氣缸芯包含為一體化結構的活塞(3)和活塞桿(4),所述的缸體(1)是含前蓋(5)且壓鑄成型的一體化結構;所述的氣缸芯的活塞桿是中空結構,內設彈簧(6)


    2.根據權利要求1所述的剎車氣缸,其特征在于:所述的缸體(1)前蓋端設有為活塞桿密封和導向的0形桿部圈(7),在活塞(3)上設有密封活塞的活塞圈(11)。


    3.根據權利要求1所述的剎車氣缸,其特征在于:所述的后蓋(2)上設有0形圈(8和卡簧(9)


    4.根據權利要求1-3中任意一項所述的剎車氣缸,其特征在于:所述的氣缸芯的活塞桿(4)端頭設有由丁腈材料做成的剎車墊(10)。

    推薦資訊

  • <li id="aaaa0"><table id="aaaa0"></table></li>
  • <li id="aaaa0"><tt id="aaaa0"></tt></li>
    <li id="aaaa0"></li>
  • <tt id="aaaa0"></tt>
    日韩有码av 东至县| 红桥区| 高台县| 定边县| 娱乐| 宝应县| 汉川市| 深州市| 常宁市| 长泰县| 巴林左旗| 陆河县| 金阳县| 惠安县| 额尔古纳市| 青河县| 栾川县| 瑞丽市| 乌拉特前旗| 康定县| 泸西县| 宜良县| 武宁县| 于都县| 三河市| 白河县| 莱阳市| 金乡县| 那坡县| 太白县| 黄平县| 莒南县| 介休市| 梁河县| 定远县| 老河口市| 根河市| 阜城县| 柳州市| 汝南县| 宜城市| http://444 http://444 http://444