• <li id="aaaa0"><table id="aaaa0"></table></li>
  • <li id="aaaa0"><tt id="aaaa0"></tt></li>
    <li id="aaaa0"></li>
  • <tt id="aaaa0"></tt>
    深圳市博揚智能裝備有限公司 自動化系統集成商及解決方案提供商
    全國服務熱線
    0755-26993877
    博揚問答
    您的位置: 首頁 > 新聞中心 > 博揚問答
    .
    聯系我們

    http://m.shunliao.com.cn

    地址:深圳市寶安區新安街道67區甲岸科技園1號廠房1區5樓
    手機:15012713703

    咨詢熱線0755-26993877

    液壓減壓閥出口和入口的工作原理圖解

    發布時間:2023-05-11 18:03:07人氣:

      這些液壓減壓閥將分支回路上的壓力限制在低于主回路所需的壓力。例如,在一個系統中,支路壓力限制在300 psi,但主回路必須在800 psi下運行。將主回路中的安全閥調整到800 psi以上的設置,以滿足主回路的要求。但是,它將超過300 psi的支路壓力。因此,除主回路中的溢流閥外,還必須在分支回路中安裝減壓閥并設置為300 psi。

    1.jpg

      在減壓閥(圖A)中,通過調節彈簧的壓縮量可以得到最大支路壓力。彈簧還將閥芯1保持在打開位置。來自主回路的液體從進口C進入閥門,流經閥芯,經出口D進入支路,出口壓力通過通道E作用于閥芯底部,如果壓力不夠為了克服彈簧的推力,閥門將保持打開狀態。


      出口(圖B)和閥芯下的壓力超過彈簧的等效推力。閥芯上升,閥門部分關閉。這將增加閥門的流動阻力,通過閥門產生更大的壓降,并降低出口處的壓力。只要工作負載不導致出口處回流,閥芯就會自行定位以限制出口處的最大壓力,而不管入口處的壓力波動如何?;亓鲗㈥P閉閥門,壓力將增加。


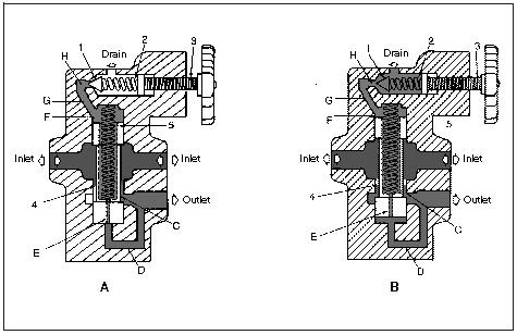
      (1)X系列型。X系列減壓閥的內部結構如下圖所示。兩個主要部件是閥蓋中的可調導閥組件,它決定了閥門的工作壓力,以及閥體內的閥芯組件,它響應導閥的動作來限制出口處的最大壓力。

    2.jpg

      先導閥組件由提升閥1、彈簧2和調節螺釘3組成。調節螺釘的位置決定了提升閥上的彈簧載荷,從而決定了閥門的設置。閥芯組件由閥芯4和彈簧5組成。彈簧是一種低剛度彈簧,傾向于將閥芯向下推并保持閥門打開。閥芯的位置決定了通道C的大小。


      當閥門入口處的壓力(圖A)不超過壓力設定值時,閥門完全打開。流體從閥門的額定容量內阻力最小的入口流向出口。通道D將出口連接到閥芯底部。通道E連接閥芯兩端的腔室。出口處的流體壓力存在于閥芯的兩端。當這些壓力相等時,閥芯處于液壓平衡狀態。閥芯上唯一有效的力是彈簧的向下推力,它使閥芯定位并傾向于將通道C保持在其最大尺寸。


      當閥門出口處的壓力(圖B)接近閥門的壓力設定值時,H腔內的液體壓力足以克服彈簧的推力并迫使提升閥離開其閥座。先導閥限制F室中的壓力。當出口頂著彈簧和F腔內壓力的共同作用力向上推動閥芯時,更多的壓力上升。


      當閥芯向上移動時,它會限制開口以在入口和出口之間產生壓降。出口處的壓力限制為彈簧2和5作用的總和。在正常操作中,通道C永遠不會完全關閉。流量必須通過以滿足閥門低壓側的任何操作要求,加上通過通道E所需的流量,以維持將閥芯保持在控制位置所需的壓降。當閥門被控制減壓時,通過限流通道E的流量是連續的。該流量從排出口流出,應直接返回油箱。


      (2)XC系列型。XC系列減壓閥限制出口壓力的方式與X系列相同,當流量從其入口端口到其出口端口時。即使在高于閥門設置的壓力下,集成的止回閥也允許從出口到入口反向自由流動。然而,對于該流動方向沒有提供相同的減壓效果。XC系列閥門的內部結構如下圖所示。

    3.jpg

    推薦資訊

  • <li id="aaaa0"><table id="aaaa0"></table></li>
  • <li id="aaaa0"><tt id="aaaa0"></tt></li>
    <li id="aaaa0"></li>
  • <tt id="aaaa0"></tt>
    日韩有码av 剑川县| 庄浪县| 建平县| 桂东县| 蚌埠市| 定西市| 遂宁市| 错那县| 屏东县| 峨眉山市| 四川省| 轮台县| 资源县| 广昌县| 清徐县| 江达县| 瓮安县| 本溪| 花垣县| 应城市| 眉山市| 遵义市| 息烽县| 泽普县| 巴青县| 永善县| 郧西县| 扎赉特旗| 闽清县| 桐庐县| 应城市| 城口县| 淮南市| 丰城市| 广安市| 曲水县| 廉江市| 霞浦县| 澜沧| 鸡泽县| 荣成市| http://444 http://444 http://444